GM Service Manual Online
For 1990-2009 cars

Special Tools

    • EN-48303 Fuel Filter Housing Holder
    • EN-48304 Fuel Filter Locker Installer/Remover

Removal Procedure


    Object Number: 1962935  Size: SH

    Caution: Gasoline or gasoline vapors are highly flammable. A fire could occur if an ignition source is present. Never drain or store gasoline or diesel fuel in an open container, due to the possibility of fire or explosion. Have a dry chemical (Class B) fire extinguisher nearby.

  1. Disconnect the negative battery cable. Refer to Battery Negative Cable Disconnection and Connection .
  2. Remove the beauty cover. Refer to Engine Cover Replacement .
  3. Remove the battery. Refer to Battery Replacement .

  4. Object Number: 1962937  Size: SH
  5. Disconnect the fuel inlet/outlet line from the fuel filter.
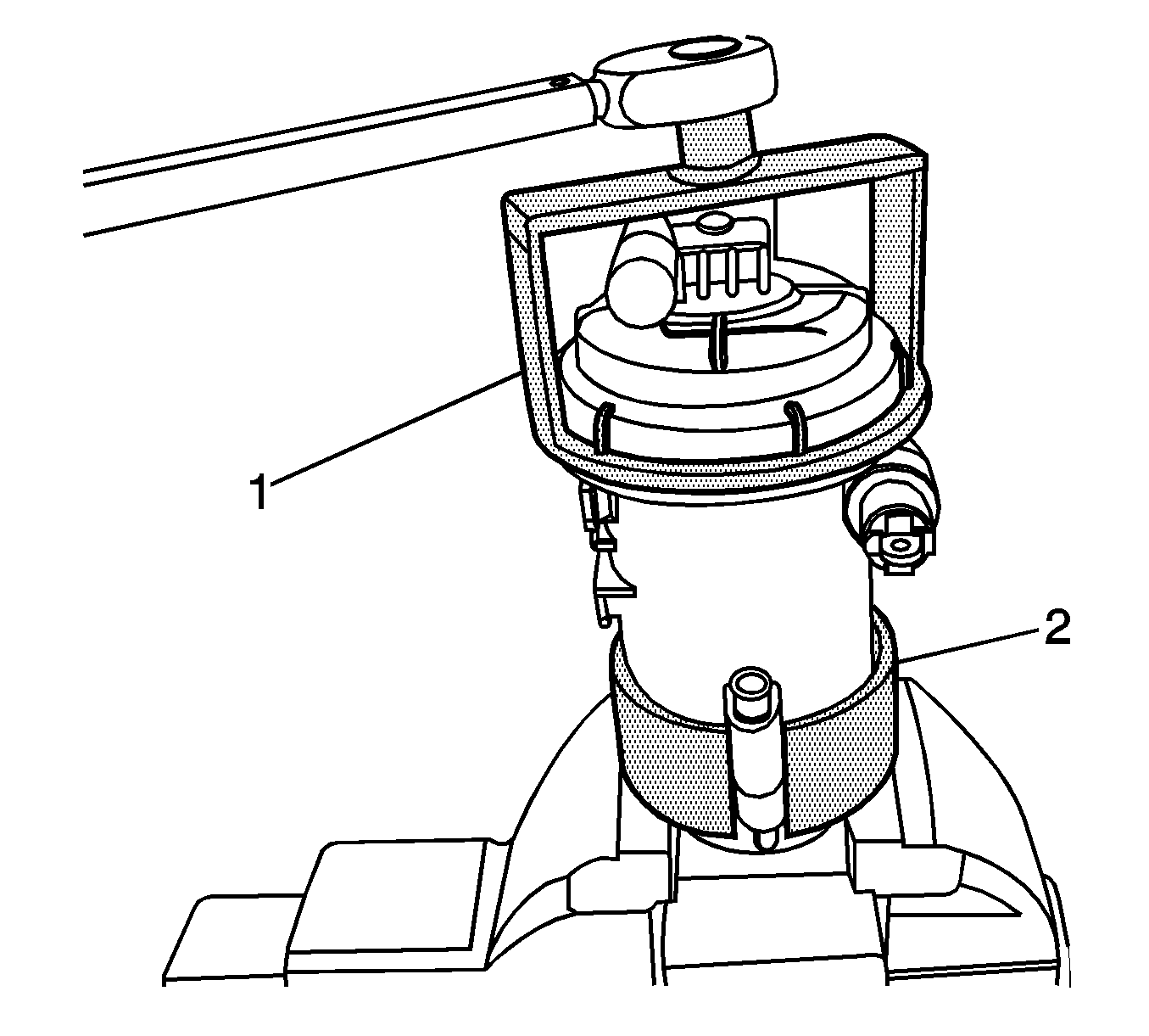
  6. Disconnect the fuel heater and temperature sensor connector (1).
  7. Disconnect the water in fuel sensor connector (2).
  8. Remove the fuel filter assembly from the bracket by lifting upward.

  9. Object Number: 1820506  Size: SH
  10. Install EN-48303 and EN-48304  (2) to the fuel filter assembly.
  11. Turn EN-48304  (1) counterclockwise.

  12. Object Number: 1820507  Size: SH
  13. Remove the fuel filter locker (5).
  14. Remove the fuel filter cap (4) with the O-ring (1).
  15. Important: Do not reuse the fuel filter element if the element is exposed to the air over a minute.

    Important: The fuel filter cap contains the fuel heater and temperature sensor. Also, the fuel filter housing contains the water in fuel sensor.

  16. Remove the fuel filter in the fuel filter housing (2).

Installation Procedure


    Object Number: 1820507  Size: SH

    Important: Do not touch the fuel filter element by hand to prevent fuel contamination.

  1. Install the fuel filter into the fuel filter housing (2).
  2. Install the fuel filter cap (4) with a new O-ring (1).
  3. Notice: Refer to Fastener Notice in the Preface section.

  4. Install the fuel filter locker (5) by using EN-48303 and EN-48304 .
  5. Tighten
    Tighten the fuel filter locker to 30 N·m (22.1 lb ft).


    Object Number: 1962937  Size: SH
  6. Install the fuel filter to the bracket.
  7. Install the fuel filter bracket to the body.
  8. Tighten
    Tighten the fuel filter bracket retaining nut to 10 N·m (88.5 lb ft).


    Object Number: 1962935  Size: SH
  9. Install the battery. Refer to Battery Replacement .
  10. Install the beauty cover. Refer to Engine Cover Replacement .
  11. Connect the negative battery cable.